一品楼qm论坛最新活动,深圳罗湖qm论坛紫兰轩论坛北京验证,一品楼品凤楼论坛官网,甘肃凤楼论坛最新消息新闻

珠海灵科自动化科技有限公司

中文English

操作使用
超声波塑料焊接技术发展与应用

随着材料工业的迅猛发展,塑料及其金属复合材料因其轻质、低摩擦、耐腐蚀和易加工等特性,受到了广泛关注。塑料制品已深入人们日常生活的各个领域,并在航空、船舶、汽车、电器、包装、玩具、电子、纺织等行业中得到了广泛应用。然而,由于注塑工艺的限制,许多形状复杂的塑料制品无法一次成型,必须依赖粘接技术。传统的塑料粘接和热合工艺效率低下,且使用的粘接剂具有一定的毒性,引发了环境污染和劳动保护等问题,已无法满足现代塑料工业的发展需求。

微信图片_20250310145357

在此背景下,一种创新的塑料加工技术——超声波塑料焊接应运而生。超声波焊接以其高效、优质、美观和节能等显著优势脱颖而出。该技术在焊接塑料制品时,无需添加任何粘接剂、填料或溶剂,也不消耗大量热源,具有操作简便、焊接速度快、焊接强度高和生产效率高等优点。因此,超声波焊接技术正逐渐获得广泛应用。


然而,并非所有塑料都适合超声波焊接。适用于超声波焊接的材料主要是热塑性塑料,这种材料在受热时可软化流动,遇冷则凝固,且反复多次加热冷却不会改变其化学结构。相比之下,热固性塑料则无法进行超声波焊接。

 

超声塑料焊搂的原理与条件

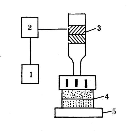
超声塑料焊接原理图见图 (a),外形图见图 (b)。

微信图片_20250312104611

超声波塑焊接原理图1.焊接程序控制器2. 超声波发生器3. 换能器振动系统4.焊件 5.工作台

2

超声波塑焊接机外形图 1.超声波发生器2. 超声波焊接程控及加压装置3.换能器振动系统4.工作台

 


当超声波作用于热塑性塑料的接触面时,会产生每秒几万次的高频振动,这种达到一定振幅的高频振动,通过上焊件把超声能量传送到焊区,由于焊区即两焊件的交界面处声阻大,因此会产生局部高温,又由于塑料导热性差,一时还不能及时散发,聚集在焊区,致使两塑料的接触面迅速熔化,加上一定压力后,使其融合成一体。当超声波停止作用后,让压力持续几秒钟,使其凝固定型,这样就形成一个坚固的分子链,达到焊接的目的,焊接强度能接近于原材料强度。


鉴于超声波焊接技术的诸多优势及其在特定材料上的高效应用,选择合适的超声波焊接机 成为了提升生产效率与产品质量的关键。市场上超声波焊接机的种类繁多,从手持式小型设备到全自动化大型系统应有尽有,每种设备都有其特定的应用场景和性能参数。灵科超声波焊接机采用先进的频率控制技术和智能压力调节系统,能够精准匹配不同塑料材料的焊接需求,确保焊接过程稳定高效。同时,设备操作简便,维护成本低,适用于多种行业和应用场景。无论是小型精密零件还是大型复杂结构,灵科超声波都能为您提供高效、环保、高质量的焊接解决方案。

微信图片_20241009151746

选择灵科超声波焊接机 ,不仅能够提升生产效率,还能有效降低能耗和环境污染,助力您的企业在塑料加工领域脱颖而出。

返回
列表
上一条

超声波金属焊接机:工业制造的高效连接利器

下一条

超声波焊接机:电器插头焊接的可靠之选